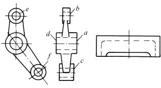
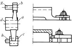
切削件结构设计:便于装夹
图 例 说明 
不合理 合理 改进后,圆柱面代替圆锥面,易于定位 
不合理

合理 改进后,增加了安装凸台,便于定位 
不合理

合理 改进后,平面a、b和c位于同一平面,增加了g、h安装凸台(钻孔e、f时脱落);改进后,箱体增加了安装凸缘和安装孔
消息,12 月 19 日,据 @defioasis 数据面板,12 月 18 日,Base 宣布全面开放 Base app,当日共有超过...
2 尽管有所回调,BNB 仍保持第四的位置,交尽管 BNB 日内下跌 2.55% 至 837 美元左右,但其市值仍保持在不包括稳定币在内的加密货币第四位...
3 Eugene:大部分山寨已进下跌尾声,主流币消息,12 月 19 日,交易员 Eugene Ng Ah Sio 在个人频道发文表示,其个人成功躲过了过去一个月的...
4 Ark Invest 昨日增持约 415 万美元 Coinbase 股消息,12 月 19 日,据 Ark Invest Daily 数据显示,Cathie Wood 旗下 Ark Invest 于昨日共增持 17386 股 C...
5 国务院:加强分析研判虚拟货币交易涉烟12月19日消息,国务院办公厅日前印发《关于全链条打击涉烟违法活动的意见》,其中指出:加...
6 去中心化健康网络DNAi于12月19日启动TGE,消息,12 月 19 日,去中心化健康经济网络 DNAi 宣布于 12 月 19 日 00:00开放官网注册。消息,$...
7 分析 Curve DAO 的价格走势,CRV 正寻求再次尽管 Curve DAO 代币 的价格在 24 小时内下跌了 2.63%,过去一周下跌了 9.9%,但其未平仓合约量却...
8 金融巨头与ADI基金会合作,共同制定机构贝莱德、万事达卡和富兰克林邓普顿已与ADI基金会合作,将机构级区块链解决方案整合到全球...
9 Solana 开发人员测试抗量子密码技术,为未随着量子计算逐渐成为一种切实存在的长期威胁,Solana 基金会已开始与安全公司 Project Eleven...
10 以太坊价格再创新高,分析师目标价位达分析师 Javon Marks 指出,以太坊目前呈现出隐藏的看涨背离,目标价位可能在 8,557 美元附近。除...
成都来彰科技 蜀ICP备2025134723号-1
资讯来源互联网,如有版权问题请联系管理员删除。