切削件结构设计:合理选择基准
图 例 说 明 
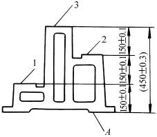
不合理

合理 改进后,设计基准和工艺基准统一到A面,平面1、2精度可降低,便于安装和测量 
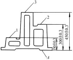
不合理 合理 改进后,镗杆支承吊架装在箱体下表面与装配基准重合,尺寸H要求降低
消息,据 Onchain Lens监测,一个与 Pump.fun 团队关联的钱包向 Bitget 交易所存入了价值 354 万美元...
2 Hyperliquid巨鲸BTC多单濒临清算消息,据Ai 姨发推称:Hyperliquid 上某地址的 731.73 枚 BTC 40 倍多单面临清算风险,该头寸开仓价...
3 Humanity Protocol股价上涨11%——潜伏的空头Humanity Protocol 昨日飙升 11%,主要受现货和衍生品交易额合计 6526 万美元的推动。尽管现货抛售...
4 瑞士银行瑞银认为白银上涨空间有限。瑞银集团分析师已转为看空白银,尽管价格持续波动,但预计未来12个月白银上涨空间有限。他...
5 5145.19万美元BTC从Coinbase机构钱包转出消息,据Whale Alert发推称:Coinbase Institutional 向未知钱包转移 719 枚 BTC,价值约 5145.19 万美元。...
6 华盛顿可能不会通过《CLARITY法案》,但美据美国证券交易委员会正在制定一套代币分类框架,旨在根据现有的证券法对加密资产进行分...
7 1.29亿美元BTC转入Coinbase机构消息,据Whale Alert发推称:1816枚比特币从未知钱包转移至Coinbase Institutional。...
8 高盛表示,减税和关税确定性可能在202高盛预测,2026年美国经济将超出预期,实际GDP增速预计为2.8%,高于市场普遍预期的2.2%。首席...
9 XRP Ledger 欢迎澳元:澳大利亚的授权稳定Novatti 已在 XRP Ledger 上推出获得全面许可的澳元稳定币 AUDD。这款机构支付工具由澳大利亚新颁...
10 OpenAI 发布 GPTOpenAI 发布了面向专业工作的全新旗舰模型 GPT-5.4,该模型包含针对推理和高性能优化的版本。...
成都来彰科技 蜀ICP备2025134723号-1
资讯来源互联网,如有版权问题请联系管理员删除。